Реле тока РСТ-110 (аналог реле РСТ 11)

В наличии
Реле максимального тока с оперативным питанием РСТ-110 (аналог РСТ 11 М) Реле РСТ 110 применяются в цепях переменного тока релейной защиты и противоаварийной автоматики в качестве органа, реагирующего на повышение тока в контролируемой цепи, и предназначены для использования в различных комплектных устройствах, от которых требуется повышенная устойчивость к механическим воздействиям.
  • Описание
  • Характеристики
  • Оплата и доставка

Описание

Реле максимального тока с оперативным питанием РСТ-110

Основные достоинства реле РСТ-110 (аналог РСТ 11 М):

  • Оперативное питание реле 11 осуществляется от сети постоянного или переменного тока с номинальным напряжением 220В;

  • Реле РСТ-110 выполнено в том же корпусе, что и РСТ-11 М. Схема подключения реле РСТ-110 соответствует схеме подключения реле РСТ-11 М;

  • Реле РСТ-110 имеет световую сигнализацию наличия напряжения питания на выходе блока питания и срабатывания реле;

  • Реле выполнено на микроэлектронной элементной базе, поэтому в отличие от электромеханических реле обладает высокой виброустойчивостью и ударопрочностью, у него принципиально отсутствует вибрация контактов (как у реле переменного тока).

Условия эксплуатации реле РСТ-110 (аналог РСТ 11 М):

  • Реле изготавливаются в климатическом исполнении УХЛ категории 4 по ГОСТ 15150-69 для России и поставок на экспорт в страны с умеренным климатом и исполнения О категории размещения «4» по ГОСТ 15150-69 для поставок на экспорт в страны с тропическим климатом. Реле исполнения О4 отличается от реле исполнения УХЛ4 материалами и покрытиями.

  • Высота над уровнем моря не более 2000 м;

  • Верхнее рабочее и предельное значение температуры окружающего воздуха плюс 55°C; нижнее рабочее и предельное значение температуры окружающего воздуха минус 40°C (без выпадения росы и инея);

  • Верхнее значение относительной влажности не более 80% при 25°C для вида климатического исполнения УХЛ4 и не более 98 % при 35°C для вида климатического исполнения О4 (без конденсации влаги);

  • Окружающая среда невзрывоопасная, не содержащая токопроводящей пыли, агрессивных газов и паров в концентрациях, разрушающих изоляцию и металлы;

  • Величины механических воздействий не должны превышать: вибрационные нагрузки с максимальным ускорением 3g в диапазоне частот от 5 до 15 Гц и 1g в диапазоне частот от 16 до 100 Гц; многократные удары с длительностью удара от 2 до 20 мс и ускорением до 3g.

Исполнения реле РСТ-110 (аналог РСТ 11 М) по току срабатывания.

Обозначение максимальной уставки по току

Класс точности

Диапазон уставок по току, А

Номинальный ток, А

Потребляемая мощность при токе минимальной уставки, не более ВА

0,2

7,5

0,05 — 0,2075

0,4

0,1

0,6

5

0,15 — 0,6225

6,3

0,1

2

5

0,5 — 2,075

6,3

0,1

6

5

1,5 — 6,225

10

0,2

20

5

5 — 20,75

16

0,2

60

5

15 — 62,25

16

0,8

120

5

30 — 124,5

16

2,4

Технические данные


Основные технические характеристики реле РСТ-110 (аналог РСТ 11 М).

 № 

Наименование параметра

Значение

1

   Номинальное напряжение питания:

   - постоянного тока

   - переменного тока


220 В

220 В

2

   Номинальная частота

50 Гц

3

   Дополнительная погрешность тока срабатывания, не более:

   - при изменении температуры окружающего воздуха в пределах от минус 40 °C до плюс 55 °C относительно тока срабатывания, измеренного при температуре 20±5 °C

   - при изменении частоты от номинального на ±3 Гц относительно тока, измеренного при номинальной частоте

±10 %


±5 %

4

   Время срабатывания реле не более:

   - при токе, равном 1,2 Iср

   - при токе, равном 3 Iср


0,06 с

0,035 с

5

   Реле длительно выдерживают без повреждения:

   - цепи питания

   - в цепи тока


1,15 Uном

1,1 Iном

6

   Количество и вид контактов выходной цепи

1 «з», 1 «р»

7

   Контакт реле способен коммутировать электрические цепи напряжением от 24 до 250 В и ток до 2,5 А:

   - в цепи постоянного тока с постоянной времени не более 0,02 с

   - в цепи переменного тока с коэффициентом мощности не менее 0,4


30 Вт

250 ВА

8

   Средняя наработка на отказ реле, не менее

100 000 циклов ВО

9

   Средний ресурс, не менее

12 500 циклов ВО

10

   Мощность, потребляемая цепью питания реле при номинальном напряжении, не более:

   - на переменном токе

   - на постоянном токе


3,0 ВА

3,0 Вт

11

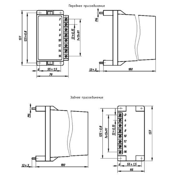
   Габариты, max

137 х 79 х 180 мм

12

   Масса, max

1,5 кг

Оплата товара осуществляется по  безналичному расчету.
  • Безналичный расчет 

Доставка

Если вы забираете ваши товары самостоятельно, то вам необходимо будет связаться с нашими менеджерами, чтобы согласовать время отгрузки.

Доставка осуществляется за счёт плательщика, вам необходимо будет связаться с нашими менеджерами, чтобы согласовать время отгрузки.


Заказать звонок

Укажите свой контактный телефон, и мы перезвоним вам в течении 5 минут

Отправить заявку
Прикрепить свои файлы